win7旗舰版

2345浏览器收藏夹里的文件删除后怎么恢复?

时间:2017-08-15 | 文章作者:铭铭

浏览器收藏夹里面的东西被删除了,如何恢复?其实2345王牌浏览器是具有收藏夹备份功能的哦,找到备份处然后还原就可以了。

打开2345王牌浏览器并登陆账户

2345浏览器收藏夹里的文件删除后怎么恢复?

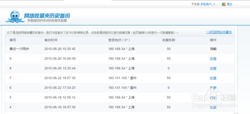
打开收藏-整理收藏夹,进入收藏夹管理(或ctrl+B),点击“恢复历史记录”#f#

2345浏览器收藏夹里的文件删除后怎么恢复?(1)

2345浏览器收藏夹里的文件删除后怎么恢复?(2)

找到最近的有效记录,点击“恢复”按钮,按下确定键。

2345浏览器收藏夹里的文件删除后怎么恢复?(3)

2345浏览器收藏夹里的文件删除后怎么恢复?(4)

可以发现删除的文件夹已经找回来啦。

2345浏览器收藏夹里的文件删除后怎么恢复?(5)

点击查看更多↓
软件下载
2345浏览器mini最新版
44.1M
立即下载
相关软件
精彩推荐