因为某些原因电脑进不了系统重装才能解决的时候怎么办呢?我们可以通过u盘重装系统的方法修复解决,那么具体电脑怎么重装系统?下面就给大家演示下u盘重装系统步骤.
1.首先我们准备一个u盘接入一个联网电脑,打开小白一键重装系统软件。(这里以Windows7 64位旗舰版举例)

2.接着我们点击制作系统选项,点击开始制作。

3.选择我们需要的软件点击下一步。

4.等待系统文件下载,制作U盘启动盘会格式化U盘,所以请提前备份好U盘的资料。

5.制作完成后,将制作好的u盘拔出即可。


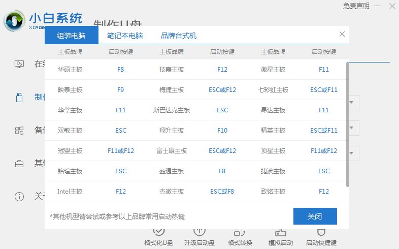
6.重启电脑后按U盘启动热键(U盘启动热键在下面的“热键按键”板块里),选择U盘启动。这里是按 F12 进入的快速引导菜单。

7.接着我们进入到pe系统选择,新电脑选择第一个PE进入,老电脑选择第二个PE进入。

8.接着我们进入到pe系统,点击自己要安装的系统后面的安装按钮。

9.接着我们等待安装完成后点击立即重启按钮。

10.等待进入系统桌面后,就代表系统已经安装好了可以使用啦。

以上就是无法进系统的情况下电脑怎么重装系统,希望能帮助到大家。